
프리미엄 가전 브랜드 다이슨(Dyson)이 계단을 올라가서 청소할 수 있을 것으로 추정되는 로봇 디자인과 서랍을 여는 새로운 특허를 공개했다고 더버지가 보도했다. 해당 특허가 향후 출시될 제품에 적용될 것인지에 대해선 알려지지 않았다. 다만 블룸버그 통신은 다이슨의 로봇 장치가 다른 가전제품과 상호작용하기 위한 로봇을 개발하고 있다고 보도했다.
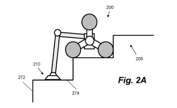
9월 1일(현지시간) 영국에서 발표된 특허에 계단에 올라서서 청소할 수 있는 "트라이스타 휠과 작동 팔을 가진 로봇 장치'와 머그잔을 들고 있는 '로봇 손'의 이미지가 공개되었다.

특허 출원 이미지에서 기계식 팔과 한쪽 끝에 트라이스타 휠(tri-star wheels)'가 한 쌍으로 구성돼 계단을 오를 수 있는 장치의 모습을 볼 수 있다. 기계 팔의 다른 쪽 끝은 바퀴가 달린 끝을 계단 위로 밀어 올리는 데 도움이 되는 지렛대로 사용되며 실제로 청소를 하는 역할도 수행한다.
다른 특허들과 마찬가지로 다이슨의 특허가 시중에 출시될 제품에 적용될지는 미지수다. 기업은 지적 재산을 확보할 목적으로 시장에 출시되지 않는 특허를 자주 출원한다는 점에서 주의가 필요하다. 블룸버그는 다이슨이 '치과 치료 장치'(일명 칫솔)에서 공기 청정기, 헤드폰 장치에 이르기까지 모든 것에 대한 특허를 출원했다고 언급했다.
다이슨의 대변인은 "특허를 많이 신청하고 있다"며 "미래에 출시할 수도 있고, 출시하지 않을 수도 있다."고 밝혔다.
[저작권자ⓒ CWN(CHANGE WITH NEWS). 무단전재-재배포 금지]